Maite filter
旋流除砂器
免费定制方案 免费到厂考察 免费获取报价!
产品说明:旋流除砂器被广泛应用于化工、环保、食品、医药等许多工业部门,在给水处理领域实现除污,降浊,固液分离等,效果显著。水力旋流的工作原理及设计自100多年前就已经提出,柱形旋流除砂器就是利用这种原理,是满足水力旋流器实现固液分离的应用实例。它是利...
午夜久久久久过滤设备携手各行业打造满足午夜免费在线网站需求产品的保障
旋流除砂器被广泛应用于化工、环保、食品、医药等许多工业部门,在给水处理领域实现除污,降浊,固液分离等,效果显著。
水力旋流的工作原理及设计自100多年前就已经提出,柱形旋流除砂器就是利用这种原理,是满足水力旋流器实现固液分离的应用实例。它是利用离心分离和力沉降的实现固液分离的水处理设备,主要用来清除地下水和包括地下热水及其它水源中的固体颗粒,适用于水源热泵系统,中央空调循环冷却水,冷冻水系统,冬季冷暖循环水系统,工业冷却循环水系统等。
设备原理:
旋流除砂器是根据离心沉降和密度差的原理,当水流在一定的压力从除砂器进口以切向进入设备后,产生强烈的旋流运动,由于污水密度不同,在离心力、向心浮力、流体拽力的作用下,因受力不同,从而使密度低的清水上升,有溢流口排出,密度大的污由底部排污口排出,从而达到除污的目的。在一定范围和条件下,除砂器水压越大,除污率越高,并可多台并联使用。
设备特点:
1.结构简单、成本低廉,易于安装和操作。
2.维护费用低,维护方便,几乎不需要维护。
3.与扩大管、缓冲箱等除污设备相比,具有体积小、处理能力大,节省现场空间等优点。
4.可以在不间断供水过程中清除水中的污粒。
5.避免了其他除污方式存在水质二次污染的现象。
6.除污效率高,效率高达96%以上。
7.适用范围广,细沙粒到大颗粒污都能使用。
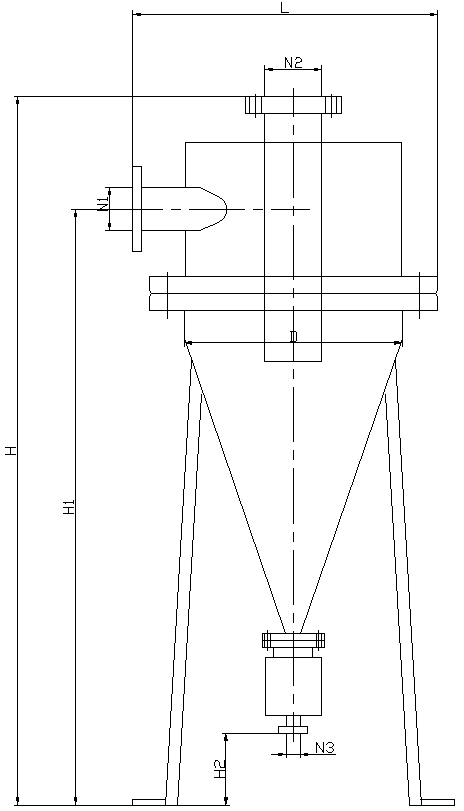
尺寸简图

选型参数:
型号 | 处理量 | 进水压力 | 分离径粒(mm) | 分离粒度 | 平均除污率(%) | 进水口D2 | 出水口D2 | 排污口D2 |
MCS-25×** | 20 | 0.15-0.4 | 1.5 | 30-70 | ﹥96 | 25 | 40 | 20 |
MCS-40×** | 30 | 0.15-0.4 | 2 | 40-100 | ﹥96 | 40 | 50 | 20 |
MCS-50×** | 50 | 0.15-0.4 | 3 | 40-100 | ﹥95 | 50 | 80 | 25 |
MCS-80×** | 80 | 0.15-0.4 | 3 | 40-100 | ﹥92 | 80 | 100 | 25 |
MCS-100×** | 100 | 0.15-0.4 | 6 | 50-150 | ﹥90 | 100 | 125 | 40 |
MCS-125×** | 125 | 0.15-0.4 | 10 | 74-200 | ﹥90 | 125 | 150 | 65 |
MCS-150×** | 150 | 0.15-0.4 | 10 | 74-200 | ﹥90 | 150 | 200 | 65 |
MCS-200×** | 200 | 0.15-0.4 | 16 | 74-220 | ﹥90 | 200 | 250 | 80 |
MCS-300×** | 300 | 0.15-0.4 | 16 | 80-230 | ﹥90 | 250 | 300 | 80 |

1)正常工作时,需开启进、出水阀门、关闭排污阀;
2)当储污缸在存污到一定高度时,应排污。排污时打开排污阀,直到清水流出;
3)排污完毕后,关闭排污阀即可;
4)如排污压力不足,可关闭出水处的阀门;
午夜久久久久过滤设备携手各行业打造满足午夜免费在线网站需求产品的保障
午夜久久久久过滤设备携手各行业打造满足午夜免费在线网站需求产品的保障